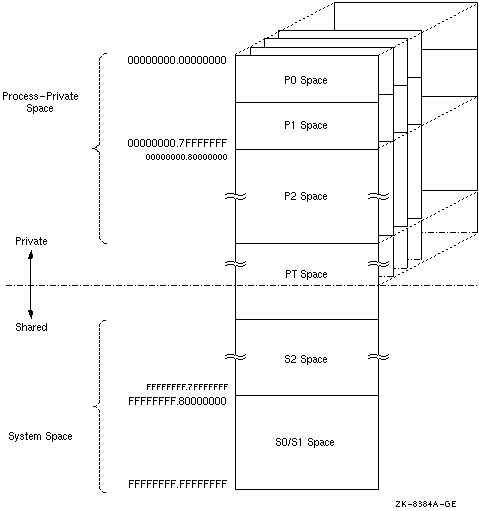
図 2-2 64ビット仮想アドレス空間レイアウト
[ 本文に戻る ]