hp.com home products and services support and drivers solutions how to buy
cd-rom home
End of Jump to page title
HP OpenVMS systems
documentation

Jump to content


HP OpenVMS Programming Concepts Manual

HP OpenVMS Programming Concepts Manual


Previous Contents Index

9.5.1.3 Testing SS$_NOPRIV and SS$_EXQUOTA Condition Values

The SS$_NOPRIV and SS$_EXQUOTA condition values returned by a number of system service procedures require special checking. Any system service that is listed as returning SS$_NOPRIV or SS$_EXQUOTA can instead return a more specific condition value that indicates the privilege or quota in question. Table 9-8 list the specific privilege errors, and Table 9-9 lists the quota errors.

Table 9-8 Privilege Errors
SS$_NOACNT SS$_NOALLSPOOL SS$_NOALTPRI
SS$_NOBUGCHK SS$_NOBYPASS SS$_NOCMEXEC
SS$_NOCMKRNL SS$_NODETACH SS$_NODIAGNOSE
SS$_NODOWNGRADE SS$_NOEXQUOTA SS$_NOGROUP
SS$_NOGRPNAM SS$_NOGRPPRV SS$_NOLOGIO
SS$_NOMOUNT SS$_NONETMBX SS$_NOOPER
SS$_NOPFNMAP SS$_NOPHYIO SS$_NOPRMCEB
SS$_NOPRMGBL SS$_NOPRMMBX SS$_NOPSWAPM
SS$_NOREADALL SS$_NOSECURITY SS$_NOSETPRV
SS$_NOSHARE SS$_NOSHMEM SS$_NOSYSGBL
SS$_NOSYSLCK SS$_NOSYSNAM SS$_NOSYSPRV
SS$_NOTMPMBX SS$_NOUPGRADE SS$_NOVOLPRO
SS$_NOWORLD    

Table 9-9 Quota Errors
SS$_EXASTLM SS$_EXBIOLM SS$_EXBYTLM
SS$_EXDIOLM SS$_EXENQLM SS$_EXFILLM
SS$_EXPGFLQUOTA SS$_EXPRCLM SS$_EXTQELM

Because either a general or a specific value can be returned, your program must test for both. The following four symbols provide a starting and ending point with which you can compare the returned condition value:

The following HP Fortran example tests for a privilege error by comparing STATUS (the returned condition value) with the specific condition value SS$_NOPRIV and the range provided by SS$_NOPRIVSTRT and SS$_NOPRIVEND. You would test for SS$_NOEXQUOTA in a similar fashion.


   .
   .
   .
! Declare status and status values 
INTEGER STATUS 
INCLUDE '($SSDEF)' 
   .
   .
   .
IF (.NOT. STATUS) THEN 
  IF ((STATUS .EQ. SS$_NOPRIV) .OR. 
2     ((STATUS .GE. SS$_NOPRIVSTRT) .AND. 
2      (STATUS .LE. SS$_NOPRIVEND))) THEN 
   .
   .
   .
  ELSE 
   CALL LIB$SIGNAL (%VAL(STATUS)) 
  END IF 
END IF 

9.5.2 Modifying Condition Values

To modify a condition value, copy a series of bits from one longword to another longword. For example, the following statement copies the first three bits (bits <2:0>) of STS$K_INFO to the first three bits of the signaled condition code, which is in the second element of the signal array named SIGARGS. As shown in Table 9-7, STS$K_INFO contains the symbolic severity code for an informational message.


! Declare STS$K_ symbols 
INCLUDE '($STSDEF)' 
   .
   .
   .
! Change the severity of the condition code 
! in SIGARGS(2) to informational 
CALL MVBITS (STS$K_INFO, 
2            0, 
2            3, 
2            SIGARGS(2), 
2            0) 

Once you modify the condition value, you can resignal the condition value and either let the default condition handler display the associated message or use the SYS$PUTMSG system service to display the message. If your condition handler displays the message, do not resignal the condition value, or the default condition handler will display the message a second time.

In the following example, the condition handler verifies that the signaled condition value is LIB$_NOSUCHSYM. If it is, the handler changes its severity from error to informational and then resignals the modified condition value. As a result of the handler's actions, the program displays an informational message indicating that the specified symbol does not exist, and then continues executing.


INTEGER FUNCTION SYMBOL (SIGARGS, 
2                        MECHARGS) 
! Changes LIB$_NOSUCHSYM to an informational message 
 
! Declare dummy arguments 
INTEGER*4 SIGARGS(*), 
2         MECHARGS(*) 
! Declare index variable for LIB$MATCH_COND 
INTEGER INDEX 
! Declare condition codes 
INCLUDE '($LIBDEF)' 
INCLUDE '($STSDEF)' 
INCLUDE '($SSDEF)' 
! Declare library procedures 
INTEGER LIB$MATCH_COND 
INDEX = LIB$MATCH_COND (SIGARGS(2), 
2                       LIB$NO_SUCHSYM) 
! If the signaled condition code is LIB$NO_SUCHSYM, 
! change its severity to informational. 
IF (INDEX .GT. 0) 
2  CALL MVBITS (STS$K_INFO, 
2               0, 
2               3, 
2               SIGARGS(2), 
2               0) 
 
SYMBOL = SS$_RESIGNAL 
 
END 

9.6 Exception Dispatcher

When an exception occurs, control is passed to the operating system's exception-dispatching routine. The exception dispatcher searches for a condition-handling routine invoking the first handler it finds and passes the information to the handler about the condition code and the state of the program when the condition code was signaled. If the handler resignals, the operating system searches for another handler; otherwise, the search for a condition handler ends.

The operating system searches for condition handlers in the following sequence:

  1. Primary exception vectors---Four vectors (lists) of one or more condition handlers; each vector is associated with an access mode. By default, all of the primary exception vectors are empty. Exception vectors are used primarily for system programming, not application programming. The debugger uses the primary exception vector associated with user mode.
    When an exception occurs, the operating system searches the primary exception associated with the access mode at which the exception occurred. To enter or cancel a condition handler in an exception vector, use the SYS$SETEXV system service. Condition handlers that are entered into the exception vectors associated with kernel, executive, and supervisor modes remain in effect either until they are canceled or until you log out. Condition handlers that are entered into the exception vector associated with user mode remain in effect either until they are canceled or until the image that entered them exits.
  2. Secondary exception vectors---A set of exception vectors with the same structure as the primary exception vectors. Exception vectors are primarily used for system programming, not application programming. By default, all of the secondary exception vectors are empty.
  3. Call frame condition handlers---Each program unit can establish one condition handler (the address of the handler is placed in the call frame of the program unit). The operating system searches for condition handlers established by your program, beginning with the current program unit. If the current program unit has not established a condition handler, the operating system searches for a handler that was established by the program unit that invoked the current program unit, and so on back to the main program.
  4. Traceback handler---If you do not establish any condition handlers and link your program with the /TRACEBACK qualifier of the LINK command (the default), the operating system finds and invokes the traceback handler.
  5. Catchall handler---If you do not establish any condition handlers and you link your program with the /NOTRACEBACK qualifier to the LINK command, the operating system finds and invokes the catchall handler. The catchall handler is at the bottom of the user stack and in the last-chance exception vector.
  6. Last-chance exception vectors---A set of exception vectors with the same structure as the primary and secondary exception vectors. Exception vectors are used primarily for system programming, not application programming. By default, the user- and supervisor-mode last-chance exception vectors are empty. The executive- and kernel-mode last-chance exception vectors contain procedures that cause a bugcheck (a nonfatal bugcheck results in an error log entry; a fatal bugcheck results in a system shutdown). The debugger uses the user-mode last-chance exception vector, and DCL uses the supervisor-mode last-chance exception vector.

The search is terminated when the dispatcher finds a condition handler. If the dispatcher cannot find a user-specified condition handler, it calls the condition handler whose address is stored in the last-chance exception vector. If the image was activated by the command language interpreter, the last-chance vector points to the catchall condition handler. The catchall handler issues a message and either continues program execution or causes the image to exit, depending on whether the condition was a warning or an error condition, respectively.

You can call the catchall handler in two ways:

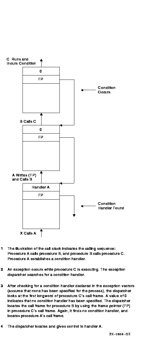
Figure 9-4 illustrates the exception dispatcher's search of the call stack for a condition handler.

Figure 9-4 Searching the Stack for a Condition Handler


In cases where the default condition handling is insufficient, you can establish your own handler by one of the mechanisms described in Section 9.2.1. Typically, you need condition handlers only if your program must perform one of the following operations:

9.7 Argument List Passed to a Condition Handler

On VAX systems, the argument list passed to the condition handler is constructed on the stack and consists of the addresses of two argument arrays, signal and mechanism, as illustrated in Section 9.8.2 and Section 9.8.3.

On Alpha and I64 systems, the arrays are set up on the stack, but any argument is passed in registers.

On VAX systems, you can use the $CHFDEF macro instruction to define the symbolic names to refer to the arguments listed in Table 9-10.

Table 9-10 $CHFDEF Symbolic Names and Arguments on VAX Systems
Symbolic Name Related Argument
CHF$L_SIGARGLST Address of signal array
CHF$L_MCHARGLST Address of mechanism array
CHF$L_SIG_ARGS Number of signal arguments
CHF$L_SIG_NAME Condition name
CHF$L_SIG_ARG1 First signal-specific argument
CHF$L_MCH_ARGS Number of mechanism arguments
CHF$L_MCH_FRAME Establisher frame address
CHF$L_MCH_DEPTH Frame depth of establisher
CHF$L_MCH_SAVR0 Saved register R0
CHF$L_MCH_SAVR1 Saved register R1

On Alpha and I64 systems, you can use the $CHFDEF2 macro instruction to define the symbolic names to refer to the arguments listed in Table 9-11.

Table 9-11 $CHFDEF2 Symbolic Names and Arguments on Alpha and I64 Systems
Symbolic Name Related Argument
CHF$L_SIGARGLST Address of signal array
CHF$L_MCHARGLST Address of mechanism array
CHF$IS_SIG_ARGS Number of signal arguments
CHF$IS_SIG_NAME Condition name
CHF$IS_SIG_ARG1 First signal-specific argument
CHF$IS_MCH_ARGS Number of mechanism arguments
CHF$IS_MCH_FLAGS Flag bits <63:0> for related argument mechanism information
CHF$PH_MCH_FRAME Establisher frame address
CHF$IS_MCH_DEPTH Frame depth of establisher
CHF$PH_MCH_DADDR Address of the handler data quadword if the exception handler data field is present
CHF$PH_MCH_ESF_ADDR Address of the exception stack frame
CHF$PH_MCH_SIG_ADDR Address of the signal array
CHF$IH_MCH_SAVR nn A copy of the saved integer registers at the time of the exception
CHF$FH_MCH_SAVF nn A copy of the saved floating-point registers at the time of the exception

9.8 Signaling

Signaling can be initiated when hardware or software detects an exception condition. In either case, the exception condition is said to be signaled by the routine in which it occurred. If hardware detects the error, it passes control to a condition dispatcher. If software detects the error, it calls one of the run-time library signal-generating routines: LIB$SIGNAL or LIB$STOP. The RTL signal-generating routines pass control to the same condition dispatcher. When LIB$STOP is called, the severity code is forced to severe, and control cannot return to the routine that signaled the condition. See Section 9.12.1 for a description of how a signal can be dismissed and how normal execution from the point of the exception condition can be continued.

When a routine signals, it passes to the OpenVMS Condition Handling facility (CHF) the condition value associated with the exception condition, as well as optional arguments that can be passed to a condition handler. The CHF uses these arguments to build two data structures on the stack:

These two vectors become the arguments that the CHF passes to condition handlers.

These argument vectors are described in detail in Section 9.8.2 and Section 9.8.3.

After the signal and mechanism argument vectors are set up, the CHF searches for enabled condition handlers. A condition handler is a separate routine that has been associated with a routine in order to take a specific action when an exception condition occurs. The CHF searches for condition handlers to handle the exception condition, beginning with the primary exception vector of the access mode in which the exception condition occurred. If this vector contains the address of a handler, that handler is called. If the address is 0 or if the handler resignals, then the CHF repeats the process with the secondary exception vector. Enabling vectored handlers is discussed in detail in the HP OpenVMS Calling Standard. Because the exception vectors are allocated in static storage, they are not generally used by modular routines.

If neither the primary nor secondary vectored handlers handle the exception condition by continuing program execution, then the CHF looks for stack frame condition handlers. It looks for the address of a condition handler in the first longword of the routine stack frame on VAX systems, in the procedure descriptor (in which the handler valid bit is set) for the routine stack frame on Alpha systems where the exception condition occurred, or in the unwind data on I64. At this point, several actions are possible, depending on the results of this search:

The OpenVMS Condition Handling facility searches for and calls condition handlers from each frame on the stack until the frame pointer is zero (indicating the end of the call sequence). At that point, the CHF calls the vectored catchall handler, which displays an error message and causes the program to exit. Note that, normally, the frame containing the stack catchall handler is at the end of the calling sequence or at the bottom of the stack. Section 9.9 explains the possible actions of default and user condition handlers in more detail.

Figure 9-5 illustrates a stack scan for condition handlers in which the main program calls procedure A, which then calls procedure B. A stack scan is initiated either when a hardware exception condition occurs or when a call is made to LIB$SIGNAL or LIB$STOP.

Figure 9-5 Sample Stack Scan for Condition Handlers


9.8.1 Generating Signals with LIB$SIGNAL and LIB$STOP

When software detects an exception condition, the software normally calls one of the run-time library signal-generating routines, LIB$SIGNAL or LIB$STOP, to initiate the signaling mechanism. This call indicates to the calling program that the exception condition has occurred. Your program can also call one of these routines explicitly to indicate an exception condition.

LIB$SIGNAL Routine

You can signal a condition code by invoking the run-time library procedure LIB$SIGNAL and passing the condition code as the first argument. (The HP OpenVMS RTL Library (LIB$) Manual contains the complete specifications for LIB$SIGNAL.) The following statement signals the condition code contained in the variable STATUS:

CALL LIB$SIGNAL (%VAL(STATUS))

When an error occurs in a subprogram, the subprogram can signal the appropriate condition code rather than return the condition code to the invoking program unit. In addition, some statements also signal condition codes; for example, an assignment statement that attempts to divide by zero signals the condition code SS$_INTDIV.

When your program wants to issue a message and allow execution to continue after handling the condition, it calls the standard routine, LIB$SIGNAL. The calling sequence for LIB$SIGNAL is the following:


LIB$SIGNAL condition-value [,condition-argument...] 
           [,condition-value-n [,condition-argument-n...]...] 
 

Only the condition-value argument must be specified; other arguments are optional. A description of the arguments is as follows:

condition-value

OpenVMS usage: cond_value
type: longword (unsigned)
access: read only
mechanism: by value
OpenVMS 32-bit condition value. The condition-value argument is an unsigned longword that contains this condition value. Section 9.5 explains the format of a condition value.

condition-argument

OpenVMS usage: varying_arg
type: unspecified
access: read only
mechanism: by value
As many arguments as are required to process the exception specified by condition-value. These arguments are also used as FAO (formatted ASCII output) arguments to format a message.

condition-value-n

OpenVMS usage: cond_value
type: longword (unsigned)
access: read only
mechanism: by value
OpenVMS 32-bit condition value. The optional condition-value-n argument is an unsigned longword that contains this condition value. The calling routine can specify additional conditions to be processed by specifying condition-value-2 through condition-value-n, with each condition value followed by any arguments required to process the condition specified. However, the total number of arguments in the call to LIB$SIGNAL must not exceed 253.

condition-argument-n

OpenVMS usage: varying_arg
type: unspecified
access: read only
mechanism: by value
As many arguments as required to create the message reporting the exception specified by condition-value-n.

LIB$STOP

When your program wants to issue a message and stop execution unconditionally, it calls LIB$STOP. The calling sequence for LIB$STOP is as follows:

LIB$STOP condition-value [,number-of-arguments] [,FAO-argument....]

Only the condition-value argument must be specified; other arguments are optional. The condition-value argument is an OpenVMS 32-bit condition value. The condition-value argument is an unsigned longword that contains this condition value.

The number-of-arguments argument, if specified, contains the number of FAO arguments that are associated with condition-value. The optional number-of-arguments argument is a signed longword integer that contains this number. If omitted or specified as zero, no FAO arguments follow.

The FAO-argument argument is an optional FAO (formatted ASCII output) argument that is associated with the specified condition value.

The condition-value argument indicates the condition that is being signaled. However, LIB$STOP always sets the severity of condition-value to SEVERE before proceeding with the stack-scanning operation.

The FAO arguments describe the details of the exception condition. These are the same arguments that are passed to the OpenVMS Condition Handling facility as part of the signal argument vector. The system default condition handlers pass them to SYS$PUTMSG, which uses them to issue a system message.

Unlike most routines, LIB$SIGNAL and LIB$STOP preserve R0 and R1 as well as the other registers. Therefore, a call to LIB$SIGNAL allows the debugger to display the entire state of the process at the time of the exception condition. This is useful for debugging checks and gathering statistics.

The behavior of LIB$SIGNAL is the same as that of the exception dispatcher that performs the stack scan after hardware detects an exception condition. That is, the system scans the stack in the same way, and the same arguments are passed to each condition handler. This allows a user to write a single condition handler to detect both hardware and software conditions.

For more information about the RTL routines LIB$SIGNAL and LIB$STOP, see the HP OpenVMS RTL Library (LIB$) Manual.


Previous Next Contents Index