 |
OpenVMS Linker Utility Manual
B.4.3 Operator Commands
Operator commands perform arithmetic on operands popped from the stack.
The linker evaluates expressions in Post Fix Polish form. If the
structure level EMBH$B_STRLVL is EOBJ$C_STRLVL64, all operations are
performed using signed 64-bit two's complement integers. Otherwise, the
low-order longwords of operands are used and operations are performed
using signed 32-bit two's complement arithmetic. There is no provision
for floating-point, string, or quadword computation. Attempts to divide
by zero produce a zero result and a nonfatal warning message. Upon
completion of the operation, the result is pushed back on the stack.
When longword arithmetic is used, the contents of the high-order 32
bits of the result are not predictable. Therefore, the result should be
popped from the stack with a longword store command (ETIR$C_STO_LW)
rather than a quadword store command (ETIR$C_STO_QW).
The operator commands check the context saved by previous stack or
operator commands. If one of the operands is defined by a shareable
image, then the other operand must be a constant and the operation must
be addition or subtraction. The context saved for the result is the
context of the relocatable operand. In those cases where both operands
are relocatable, neither is allowed to be external, so the saved
context for the result simply indicates that it is relocatable and not
external.
Table B-10 lists the operator commands and related values, together
with a brief description of each command.
Table B-10 Operator Commands
| Value |
Command |
Description |
|
100
|
ETIR$C_OPR_NOP (No-Operation)
|
No operation results.
|
|
101
|
ETIR$C_OPR_ADD (Add)
|
Stack is popped twice. The two popped values are added, and the result
is pushed back onto the stack. Stack pointer is decremented.
|
|
102
|
ETIR$C_OPR_SUB (Subtract)
|
Stack is popped twice. First value popped is subtracted from the
second, and the result is pushed back onto the stack. Stack pointer is
decremented.
|
|
103
|
ETIR$C_OPR_MUL (Multiply)
|
Stack is popped twice. The values are multiplied and the result is
pushed back onto the stack. Stack pointer is decremented.
|
|
104
|
ETIR$C_OPR_DIV (Divide)
|
Stack is popped twice. The second value popped is divided by the first
value popped, and the result is pushed back onto the stack. Stack
pointer is decremented.
|
|
105
|
ETIR$C_OPR_AND (Logical AND)
|
Stack is popped twice. The result is the logical AND of the two
operands. The result is pushed back onto the stack. Stack pointer is
decremented.
|
|
106
|
ETIR$C_OPR_IOR (Logical Inclusive OR)
|
Stack is popped twice. The result is the inclusive OR of the two
operands. The result is pushed back onto the stack. Stack pointer is
decremented.
|
|
107
|
ETIR$C_OPR_EOR (Logical Exclusive OR)
|
Stack is popped twice. The result is the exclusive OR of the two
operands. The result is pushed back onto the stack. Stack pointer is
decremented.
|
|
108
|
ETIR$C_OPR_NEG (Negate)
|
Stack is popped once. The value is negated and pushed back onto the
stack. Stack pointer is unchanged.
|
|
109
|
ETIR$C_OPR_COM (Complement)
|
Stack is popped once. The value is complemented and pushed back onto
the stack. Stack pointer is unchanged.
|
|
110
|
ETIR$C_OPR_INSV (Insert Field)
|
Not supported in structure level 2.
|
|
111
|
ETIR$C_OPR_ASH (Arithmetic Shift)
|
Stack is popped twice. The second value popped specifies the shift
count and direction to be applied to the first value popped. When the
shift count is negative, the bits are shifted right with replication of
the sign bit. When the shift count is positive, the bits are shifted
left with zeros moved into low-order bits. The result is pushed back
onto the stack. Stack pointer is decremented.
|
|
112
|
ETIR$C_OPR_USH (Unsigned Shift)
|
Not supported in structure level 2.
|
|
113
|
ETIR$C_OPR_ROT (Rotate)
|
The stack is popped twice. The second value popped specifies the
rotation count and direction to be applied to first value popped. When
the rotation count is positive, the bits in the first value popped are
rotated left; when negative, right. The rotation count must have an
absolute value of 0 to 32. The result is pushed back onto the stack.
Stack pointer is decremented.
|
|
114
|
ETIR$C_OPR_SEL (Select)
|
Stack is popped two or three times. If the first value popped evaluates
to TRUE (low bit set), another value is popped, leaving the top value
on the resulting stack unchanged. If the first value popped evaluates
to FALSE (low bit clear), the stack is popped two more times. The value
popped by the second of the three pops is pushed back onto the stack,
replacing the value removed by the third pop. In both cases, the stack
pointer is decremented by two.
|
|
115
|
ETIR$C_OPR_REDEF (Redefine Symbol to Current Location)
|
Not supported in structure level 2.
|
|
116
|
ETIR$C_OPR_DFLIT (Define a Literal)
|
Not supported in structure level 2.
|
|
117--149
|
|
Reserved to Compaq.
|
B.4.4 Control Commands
Control commands manipulate the linker's location counter.
Table B-11 lists the control commands and related values, together
with a brief description of each command.
Table B-11 Control Commands
| Value |
Command |
Description |
|
150
|
ETIR$C_CTL_SETRB (Set Relocation Base)
|
The stack is popped. The low-order longword of the value is placed in
the image location counter. The stack pointer is decremented.
|
|
151
|
ETIR$C_CTL_AUGRB (Augment Relocation Base)
|
Argument is a signed longword. The value of this longword is added to
the current image location counter. Stack pointer is unchanged.
|
|
152
1
|
ETIR$C_CTL_DFLOC (Define Location)
|
The stack is popped. The low-order longword of the popped value is used
as an index. The value of the current DST location counter is then
saved under this index.
|
|
153
1
|
ETIR$C_CTL_STLOC (Set Location)
|
The stack is popped. The low-order longword of the value is used as an
index to locate a DST location counter saved by a previous DEFINE
LOCATION command. The current DST location counter is updated with the
saved DST location counter. The stack pointer is decremented.
|
|
154
1
|
ETIR$C_CTL_STKDL (Stack Defined Location)
|
The stack is popped. The low-order longword of the popped value is used
as an index to locate a DST location counter saved by a previous DEFINE
LOCATION command. The saved DST location counter is pushed back on the
stack. The stack pointer is unchanged.
|
|
155--199
|
|
Reserved to Compaq.
|
1This command is legal only in debugger information (DBG)
and traceback information (TBT) records. For each object module, a list
of debugger indexes is kept. These commands operate on the list for the
object module in which the DBG or TBT record occurs.
B.4.5 Conditional Store Commands
There are two types of conditional store commands. The first type
declares conditional linkage, and assigns the linkage a unique
index. The second type enables the linker to replace an
instruction in the code stream. If an instruction is replaced, the
linker is able to identify the conditional linkage that the original
instruction relied on and eliminate the relocation that would otherwise
have been generated for it. This is called linkage
retirement. Linkage retirement leaves the storage allocated
for the linkage intact but eliminates the relocations. Linkage
retirement is not supported for structure level 2; the linker
unconditionally generates relocations for all linkages.
B.4.5.1 Defining Conditional Linkage with Address-Related Commands
Table B-12 lists the commands for allocating conditional linkage
with the arguments that follow the size field.
The ETIR$C_STC_LP_PSB command is used to pass signature information
associated with the procedure to the linker. The linker propagates this
information to the fix-up section with a special type of fix-up when
the /NONATIVE_ONLY switch is specified. The signature information is
used by the image activator to build jackets at activation time if the
routine resides in a translated image. The signature is opaque to the
linker. For more information about the format of OpenVMS procedure
signatures, see the OpenVMS Calling Standard.
Table B-12 Summary of Store Conditional Commands for Linkage
| Value |
Command |
Arguments |
|
200
|
ETIR$C_STC_LP
(Store Conditional Linkage Pair)
|
Not supported in structure level 2
|
|
201
|
ETIR$C_STC_LP_PSB
(Store Conditional Linkage Pair Plus Signature)
|
Linkage Index (longword)
Procedure Name (counted string)
Signature Length (byte, may be 0)
Signature (only if length is positive)
|
|
202
|
ETIR$C_STC_GBL
(Store Conditional Global)
|
Linkage Index (longword)
Global Name (counted string)
|
|
203
|
ETIR$C_STC_GCA
(Store Conditional Code Address)
|
Linkage Index (longword)
Procedure Name (counted string)
|
|
204
|
ETIR$C_STC_PS
(Store Conditional Psect Plus Offset)
|
Linkage Index (longword)
Psect index (longword)
Offset (quadword)
|
The linkage index argument common to all of these commands is a
positive integer value that must be unique to the module. Each index
identifies a quadword of linkage. The commands used to declare a
conditional linkage pair (ETIR$C_STC_LP and ETIR$C_STC_LP_PSB) reserve
two index values. For example, if the index value 3 is declared, the
index value 4 is implicitly declared. The linkage index is used by
subsequent instruction replacement commands to identify the linkage on
which the original instruction was dependent.
Linkage that is declared with a conditional linkage command and a
nonzero linkage index can be used only by instructions that are
identified by one of the instruction-related conditional store commands
listed in Section B.4.5.2. Linkage that is declared with a conditional
linkage command and a zero linkage index is not conditional. Improper
use of conditional linkage cannot be detected by the linker and will
result in incorrect program execution.
The linker assumes that its image location pointer points to the
linkage being declared when the conditional store command is processed.
If the linkage is needed, the linker will fill it with different values
depending on the command as indicated in Tables B-13 and
B-14. (Note that for structure level 2, the linker always
fills in and relocates linkages.) The term symbol vector
offset designates an offset into the symbol vector of the
image that defined the symbol. The type of relocation or fix-up applied
to the value in the linkage pair is specified in parentheses.
Table B-13 Contents of Linkage When Symbol Is Local to the Image
| Command |
First Quadword |
Second Quadword |
|
ETIR$C_STC_LP
|
Not supported in structure level 2
|
|
ETIR$C_STC_LP_PSB
|
Image offset of procedure entry (Quadword relocation)
|
Image offset of procedure descriptor (Quadword relocation)
|
|
ETIR$C_STC_GBL
|
Image offset of global data (Quadword relocation)
|
Not applicable
|
|
ETIR$C_STC_GCA
|
Image offset of procedure entry (Quadword relocation)
|
Not applicable
|
|
ETIR$C_STC_PS
|
Image offset of (psect + offset) (Quadword relocation)
|
Not applicable
|
Table B-14 Contents of Linkage When Symbol Is External to the Image
| Command |
First Quadword |
Second Quadword |
|
ETIR$C_STC_LP
|
Not supported in structure level 2
|
|
ETIR$C_STC_LP_PSB
|
Symbol vector offset (Linkage pair with signature fix-up)
|
Zero
|
|
ETIR$C_STC_GBL
1
|
Symbol vector offset (Quadword .ADDRESS fix-up)
|
Not applicable
|
|
ETIR$C_STC_GCA
1
|
Symbol vector offset (Code address fix-up)
|
Not applicable
|
|
ETIR$C_STC_PS
1 (Only if psect is OVR,REL,GBL)
|
Symbol vector offset (Quadword .ADDRESS fix-up)
|
Not applicable
|
1Not supported for structure level 2.
B.4.5.2 Optimizing Instructions with Instruction-Related Commands
At the direction of the compiler, the linker is able to optimize
portions of the instruction stream. The compiler identifies
replacements with one of the instruction-related commands listed in
Table B-15. These commands supply a reference to the linkage
(previously defined with one of the commands listed in Table B-12 ),
a replacement instruction, and some conditions for the linker to test.
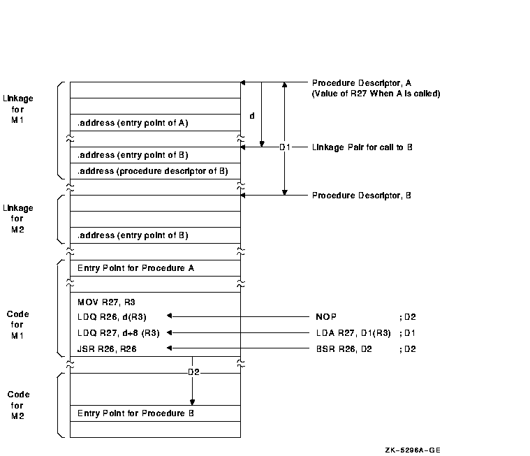
Figure B-11 shows the offsets used by the linker to test for
replacement and the replacement instructions that are used. The
following commands might be used to replace a sequence of instructions
used to call procedure B from inside procedure A:
- ETIR$C_STC_NOP
- ETIR$C_STC_LDA
- ETIR$C_STC_BSR
The ETIR$C_STC_NOP passes the addresses used to calculate the offset
D2. If D2 can be expressed as a signed 21-bit integer, the linker
replaces the first LDQ instruction with the instruction specified by
the command. (For example, the compiler might specify BIS R31,R31,R31,
an instruction that does nothing and uses very few CPU cycles.) The
replacement of the first LDQ instruction anticipates the replacement of
the JSR instruction and eliminates a memory reference, that is, the
reference to the linkage pair that contains the address of the
procedure entry for B. If D2 is too large to be expressed as a signed
21-bit integer, the linker does not do the replacement. The linker
cannot delete the storage that contained the LDQ instruction (instead
of replacing it with a NOP instruction) because the offset d that was
calculated by the compiler would no longer be valid.
Figure B-11 Optimization of a Standard Call
The ETIR$C_STC_LDA command passes the addresses used to calculate the
offset D1. If D1 can be expressed as a signed 16-bit integer, the
linker replaces the second LDQ instruction with the LDA instruction
supplied by the command and fills in the 16-bit offset field with D1.
This replacement eliminates a memory reference to the second half of
the linkage pair, which contains the address of the procedure
descriptor for B. If D1 is too large to be expressed as a signed 16-bit
integer, the linker does not do the replacement. This replacement can
happen independently of the replacement of the other LDQ and JSR
instructions.
Finally, the ETIR$C_STC_BSR command passes the same addresses as
ETIR$C_STC_NOP (so that they will fail or succeed together), and the
same test is done again. If the test succeeds, the linker replaces the
JSR instruction with the BSR instruction supplied by the command and
fills in the 21-bit offset field with D2.
Table B-15 lists the commands for optimizing the instruction stream.
The default instruction stream must be placed in memory (typically with
an ETIR$C_STO_IMM command) before the instruction-related commands are
issued. The linker cannot detect attempts to optimize instructions that
have not previously been placed in memory. Each command in the table
has the following arguments (excluding the ETIR$C_STC_NBH_PS and
ETIR$C_STC_NBH_GBL commands, which are not supported in structure level
2). The argument abbreviations are used by the commands in
Table B-15 to describe the operation of the command.
| Argument |
Abbreviation |
Size |
|
Linkage Index
|
LI
|
Longword
|
|
Psect Index 1
|
PS1
|
Longword
|
|
Offset 1
|
OFF1
|
Quadword
|
|
Replacement instruction
|
REPINS
|
Longword
|
|
Psect Index 2
|
PS2
|
Longword
|
|
Offset 2
|
OFF2
|
Quadword
|
Global Name
(_GBL commands only)
|
GNAM
|
Counted String
|
Psect Index 3
(_PS commands only)
|
PS3
|
Longword
|
Offset 3
(_PS commands only)
|
OFF3
|
Quadword
|
The Linkage Index argument must be nonzero and point
to the linkage declared with an address-related conditional store
command. The PS1 and OFF1 arguments
are used to calculate the location of the instruction that needs to be
replaced. For the commands that deal with NOP and BSR instructions, the
PS2 and OFF2 arguments point to the
base of the calculation, typically, JSR + 4 . The commands for
replacing the LDA instruction use PS2 and
OFF2 to point to the base of the linkage section. The
PS3 and OFF3 arguments point to the
procedure entry point for the NOP and BSR commands and to the procedure
descriptor for the LDA commands.
Table B-15 Summary of Store Conditional Commands for Instruction Replacement
| Value |
Command |
Description |
|
205
|
ETIR$C_STC_NOP_GBL
(Store Conditional NOP at Global Address)
|
Store a NOP (specified in REPINS) at (PS1 + OFF1) if the longword
displacement from (PS2 + OFF2) to the procedure entry associated with
GNAM can be expressed as a signed 21-bit integer.
|
|
206
|
ETIR$C_STC_NOP_PS
(Store Conditional NOP at Psect Plus Offset)
|
Store a NOP (specified in REPINS) at (PS1 + OFF1) if the longword
displacement from (PS2 + OFF2) to (PS3 + OFF3) can be expressed as a
signed 21-bit integer.
|
|
207
|
ETIR$C_STC_BSR_GBL
(Store Conditional BSR at Global Address)
|
If the longword displacement from (PS2 + OFF2) to the procedure entry
associated with GNAM can be expressed as a signed 21-bit integer, then
insert the displacement into the low-order 21 bits of the BSR
(specified in REPINS) and store it at (PS1 + OFF1).
|
|
208
|
ETIR$C_STC_BSR_PS
(Store Conditional BSR at Psect Plus Offset)
|
If the longword displacement from (PS2 + OFF2) to (PS3 + OFF3) can be
expressed as a signed 21-bit integer, then insert the displacement into
the low-order 21 bits of the BSR (specified in REPINS) and store it at
(PS1 + OFF1).
|
|
209
|
ETIR$C_STC_LDA_GBL
(Store Conditional LDA at Global Address)
|
If the byte displacement from (PS2 + OFF2) to the procedure descriptor
associated with GNAM can be expressed as a signed 16-bit integer, then
insert the displacement into the low-order 16 bits of the LDA
instruction (specified in REPINS) and store it at (PS1 + OFF1).
|
|
210
|
ETIR$C_STC_LDA_PS
(Store Conditional LDA at Psect Plus Offset)
|
If the byte displacement from (PS2 + OFF2) to (PS3 + OFF3) can be
expressed as a signed 16-bit integer, then insert the displacement into
the low-order 16 bits of the LDA instruction (specified in REPINS) and
store it at (PS1 + OFF1).
|
|
211
|
ETIR$C_STC_BOH_GBL
(Store Conditional BSR or Hint at Global Address)
|
If the longword displacement from (PS2 + OFF2) to the procedure entry
associated with GNAM can be expressed as a signed 21-bit integer, then
insert the displacement into the low-order bits of the instruction
specified in REPINS and store it at (PS1 + OFF1). If the displacement
is too large or the global name is defined by a shareable image, insert
a hint into the low-order 14 bits of the instruction at (PS1 + OFF1).
|
|
212
|
ETIR$C_STC_BOH_PS
(Store Conditional BSR or Hint at Psect Plus Offset)
|
If the longword displacement from (PS2 + OFF2) to (PS3 + OFF3) can be
expressed as a signed 21-bit integer, then insert the displacement into
the low-order bits of the instruction specified in REPINS and store it
at (PS1 + OFF1). If the displacement is too large, insert a hint into
the low-order 14 bits of the instruction at (PS1 + OFF1).
|
|
213
|
ETIR$C_STC_NBH_GBL
(Store Conditional (NOP and BSR) or Hint at Global Address)
|
Not supported in structure level 2.
|
|
214
|
ETIR$C_STC_NBH_PS
(Store Conditional (NOP and BSR) or Hint at Psect Plus Offset)
|
Not supported in structure level 2.
|
Instruction replacement will fail when any of the following conditions
occur:
- The linker qualifier /NOREPLACE is specified.
- The displacement cannot be expressed in the number of bits
specified for each command listed in Table B-15.
- The linker qualifier /SECTION_BINDING=CODE is specified and the
call and the destination are in different image sections.
- A command with the _GBL suffix is used and the global name is
defined by a shareable image.
|